Miniature du produit Manuel de l'utilisateur

Manuel de l'utilisateur : DeLonghi DE60UM hotte

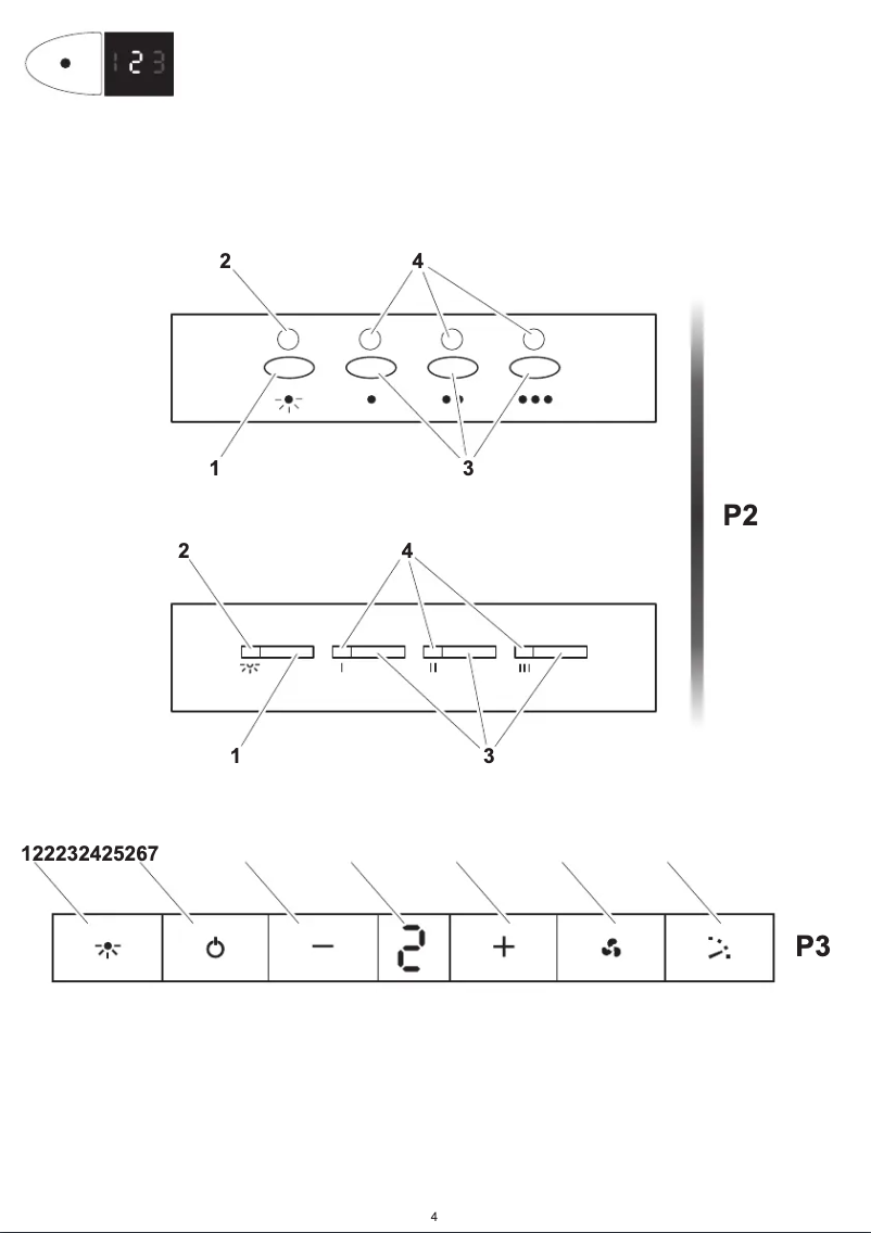
DeLonghi Appareils ménagers Hotte

Recherchez parmi les 22 pages de la notice : Manuel utilisateur Hotte DeLonghi DE60UM pour trouver les informations qu'il vous manque. Vous ne trouvez pas les réponses à vos questions ? Réservez une vidéo assistance en moins de 2 minutes.

Caractéristiques

Marque DeLonghi
Modèle DE60UM
Catégorie Appareils ménagers
Type de produit Hotte
Nombre de pages 22 Pages
Type de fichier
Page / 22
Page 1 de la notice Manuel utilisateur DeLonghi DE60UM