Miniature du produit Schéma de câblage

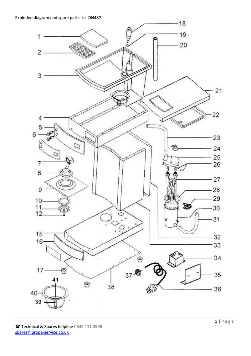
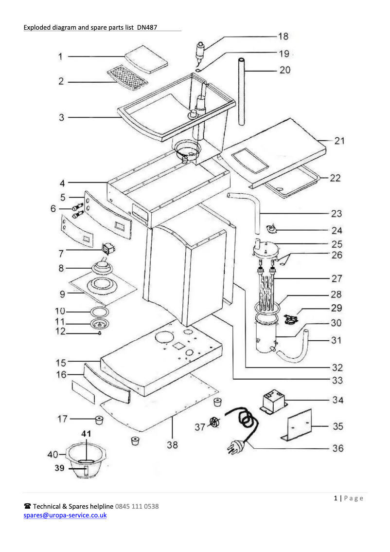
Schéma de câblage : Buffalo DN487 machine à café

Buffalo Appareils ménagers Machine à café

De quoi avez-vous besoin ?

En validant, je déclare accepter sans réserve les Conditions Générales et la Politique de confidentialité de wenony.lu. En validant les informations, je confirme commander un contrat WeNony Premium au tarif de 0,90 € le premier mois, puis au tarif de 49,00 € par mois avec un engagement de 12 mois. Je confirme être habilité à engager l’entreprise dans ces conditions.

Présentation de la notice : Schéma de câblage Machine à café Buffalo DN487

Recherchez parmi les 2 pages de la notice : Schéma de câblage Machine à café Buffalo DN487 pour trouver les informations qu'il vous manque. Vous ne trouvez pas les réponses à vos questions ? Réservez une vidéo assistance en moins de 2 minutes.

Caractéristiques

Marque Buffalo
Modèle DN487
Catégorie Appareils ménagers
Type de produit Machine à café
Nombre de pages 2 Pages
Type de fichier
Page / 2
Page n°1 - Schéma de câblage Buffalo DN487